ООО "КОНТАКТЭЛЕКТРО"
Главная/Выключатели нагрузки серии ВНВР

Выключатели нагрузки ВНВР

Выключатель нагрузки вакуумный ВНВР
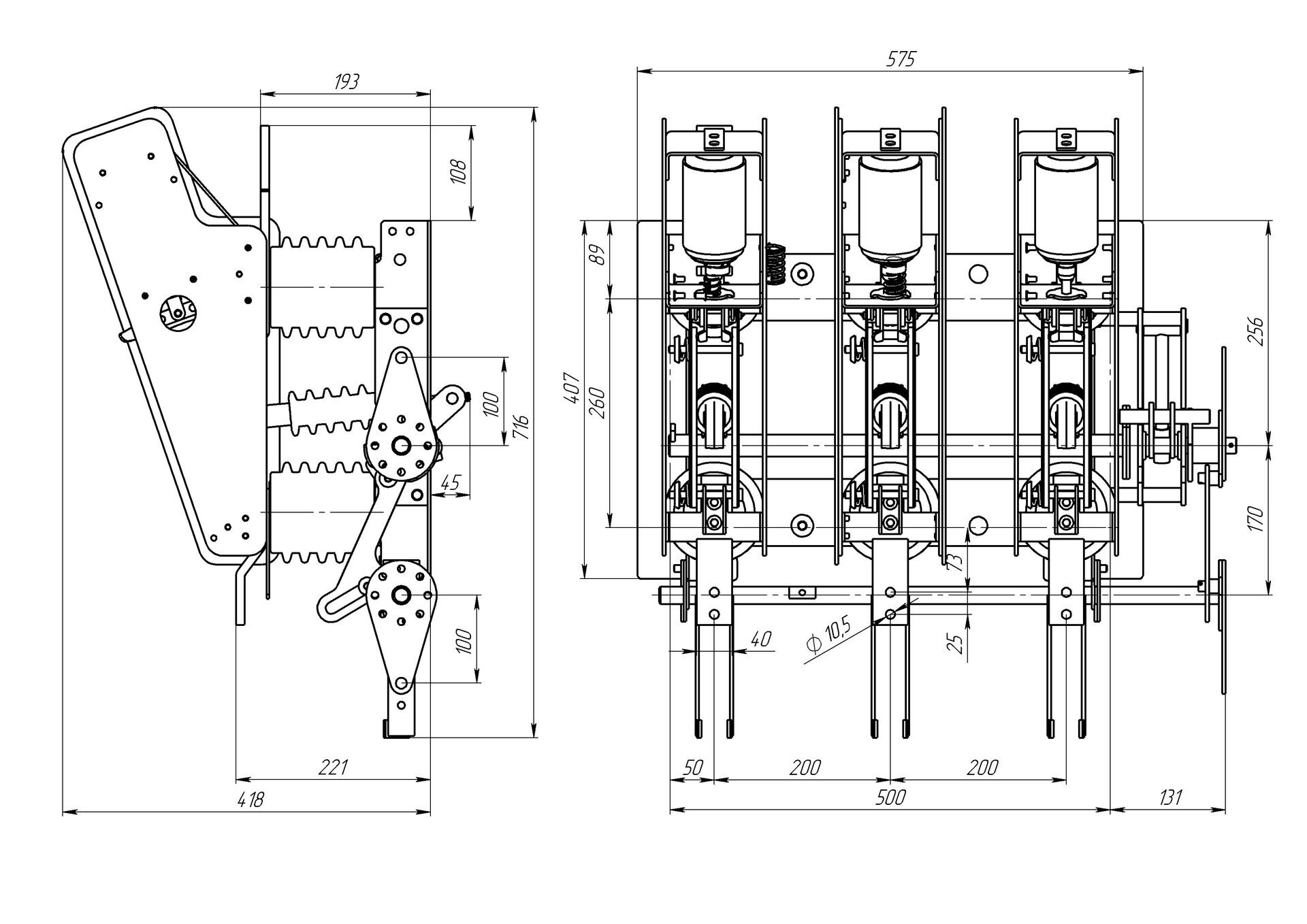
Выключатель ВНВР без предохранителей

Выключатель нагрузки с вакуумными дугогасительными камерами. Предназначен для отключения токовых цепей напряжением 10 кВ. под нагрузкой. Гашение дуги происходит в безвоздушной среде вакуумной камеры. Исполнение с заземляющими ножами или без заземляющих ножей. С заземляющими ножами возможно три исполнения. I - заземляющие ножи со стороны разъемного контакта. II - заземляющие ножи со стороны шарнирного соединения подвижного контакта. III - заземляющие ножи с двух сторон выключателя

  • Номинальное напряжение 10 кВ.
  • Номинальный ток 630 А.
  • Ток электродинамичесой стойкости 51 кА.
  • Ток термической стойкости 20 кА.
  • Коммутационная износостойкость дугогасительной камеры не менее 5000 операций В-О
  • Срок эксплуатации 30 лет
Выключатель нагрузки вакуумный ВНВР исполнение I
ВНВР-П-10/630-I-УХЛ2
Выключатель нагрузки с вакуумными дугогасительными камерами, заземляющие ножи расположены со стороны неподвижных контактов
  • Номинальное напряжение 10 кВ
  • Номинальный ток 630 А.
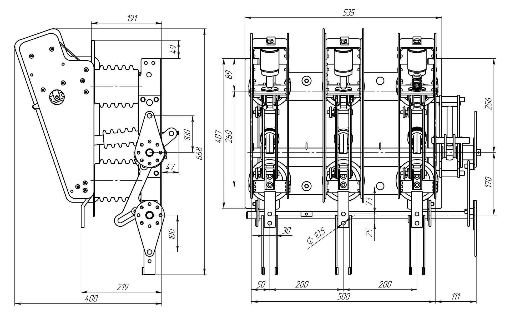
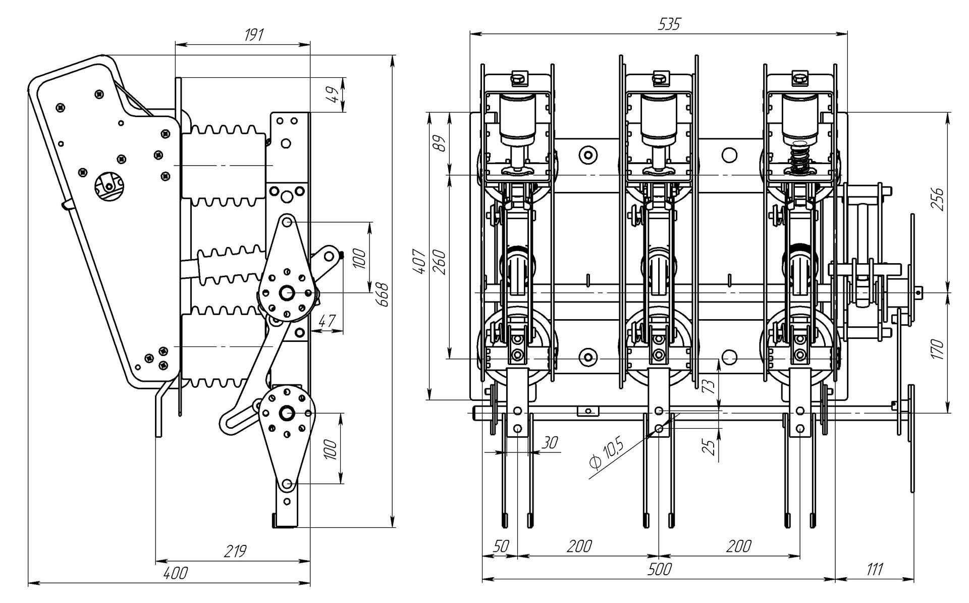
Выключатель нагрузки вакуумный ВНВР исполнение II
ВНВР-П-10/630-II-УХЛ2
Выключатель нагрузки с вакуумными дугогасительными камерами, заземляющие ножи расположены со стороны подвижных контактов
  • Номинальное напряжение 10 кВ
  • Номинальный ток 630 А.
Выключатель нагрузки вакуумный ВНВР исполнение III
ВНВР-П-10/630-III-УХЛ2
Выключатель нагрузки с вакуумными дугогасительными камерами, заземляющие ножи расположены с двух сторон
  • Номинальное напряжение 10 кВ
  • Номинальный ток 630 А.
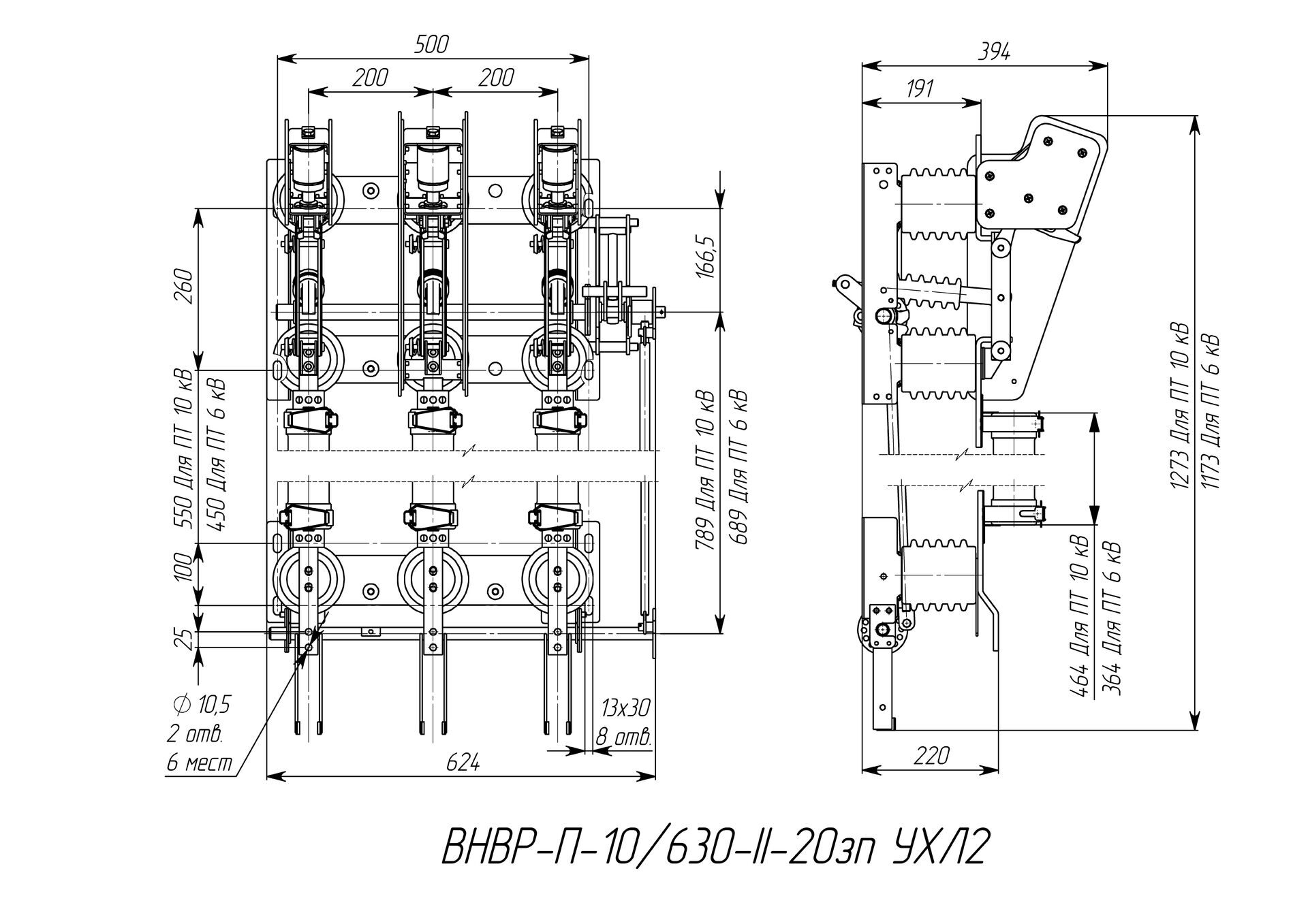
Выключатель нагрузки вакуумный ВНВР исполнение II
ВНВР-П-10/1000-II-УХЛ2
Выключатель нагрузки с вакуумными дугогасительными камерами, заземляющие ножи расположены со стороны подвижных контактов
  • Номинальное напряжение 10 кВ
  • Номинальный ток 1000 А.
Выключатель нагрузки вакуумный ВНВРпз
Выключатель ВНВРп с предохранителями

Выключатель нагрузки в комплекте с предохранителями с вакуумными дугогасительными камерами. Предназначен для отключения токовых цепей напряжением 10 кВ. под нагрузкой и защиты присоединения от токов перегрузки и короткого замыкания предохранителями серии ПТ. Гашение дуги происходит в безвоздушной среде вакуумной камеры. Исполнение с заземляющими ножами или без заземляющих ножей. С заземляющими ножами возможно три исполнения. I - заземляющие ножи со стороны разъемного контакта. II - заземляющие ножи со стороны шарнирного соединения подвижного контакта после предохранителей. III - заземляющие ножи с двух сторон выключателя

  • Номинальное напряжение 10 кВ.
  • Номинальный ток 630 А.
  • Ток электродинамичесой стойкости 51 кА.
  • Ток термической стойкости 20 кА.
  • Коммутационная износостойкость дугогасительной камеры не менее 5000 операций В-О
  • Срок эксплуатации 30 лет
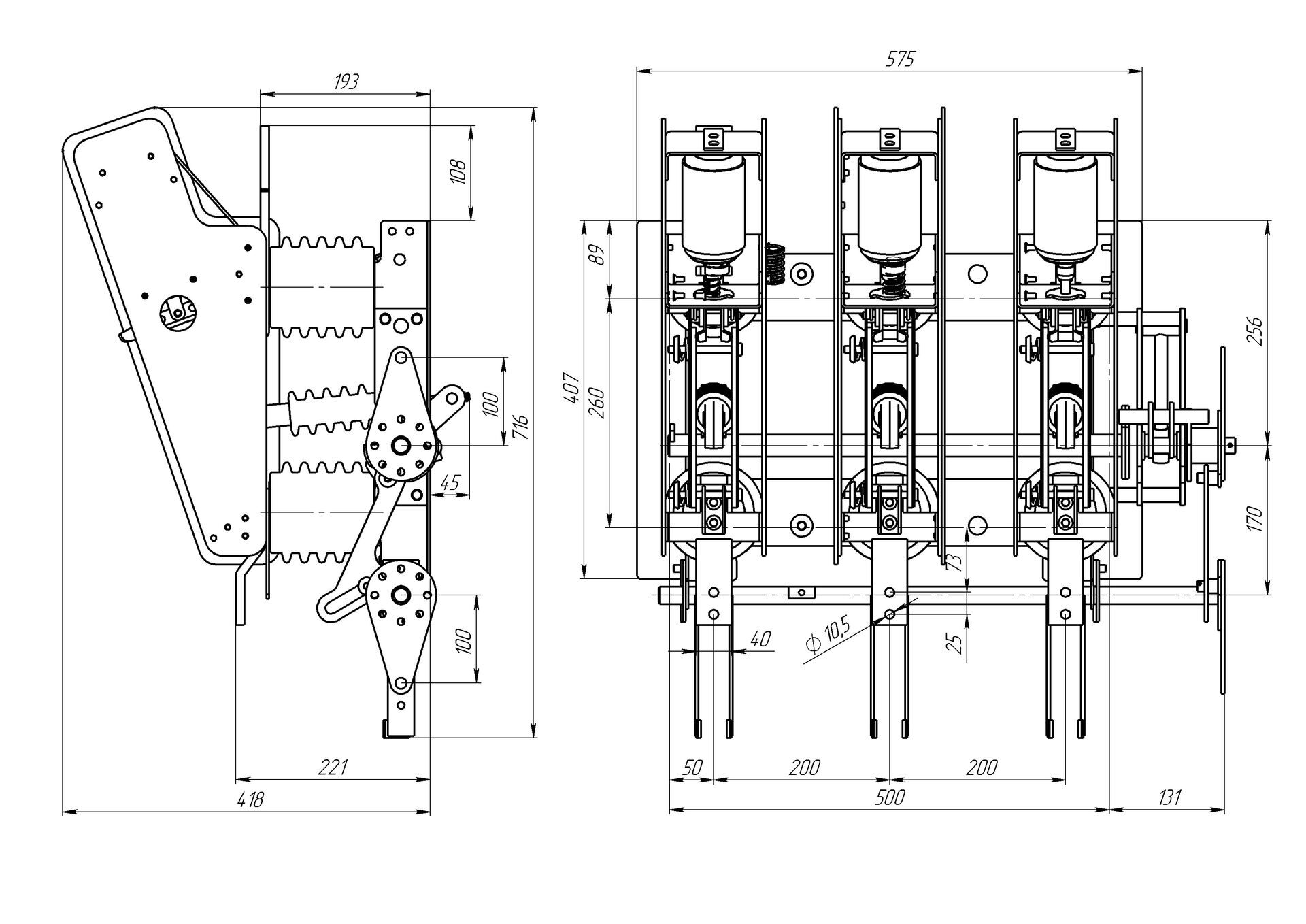
Выключатель нагрузки вакуумный ВНВРпз исполнение II
ВНВР-П-10/630-II-пзУХЛ2

Выключатель нагрузки с вакуумными дугогасительными камерами. Заземляющие ножи со стороны подвижных контактов, ниже предохранителей.

  • Напряжение 10 кВ.
  • Номинальный ток 630 А.
Выключатель нагрузки вакуумный ВНВРпз 10/1000 исполнение II
ВНВР-П-10/1000-II-пзУХЛ2

Выключатель нагрузки с вакуумными дугогасительными камерами. Заземляющие ножи со стороны подвижных контактов, ниже предохранителей.

  • Напряжение 10 кВ.
  • Номинальный ток 1000 А.
Выключатель нагрузки вакуумный ВНВРпз монтаж в камеру ксо
Монтажная схема
Схема расположения выключателя нагрузки в ячейке КСО.
Контактная информация
Волгоградская обл, г.Волжский, ул., Автодорога 7-42а
это поле обязательно для заполнения
Телефон:*
Спасибо! Форма отправлена
Rambler's Top100 РИА РБК
Заказать продукцию
это поле обязательно для заполнения
Строка ввода:*
это поле обязательно для заполнения
Телефон:*
это поле обязательно для заполнения
E-mail:*
Скрытое поле:
Спасибо! Форма отправлена